文武教師溫馨提示:近期文武教師網收到舉報,有詐騙分子發布虛假信息,進行騙取報名費,如信息中涉及報名收費,請各位老師謹慎鑒別,確認無誤后再繳費報名,以免上當受騙,一般教育局組織的招聘才需要支付費用,學校招聘不需要支付,文武網所提供的所有考試信息僅供參考,敬請考生以權威部門公布的正式信息為準。
歡迎加入安徽教師招聘群:372773636,考情、招聘信息早知道!
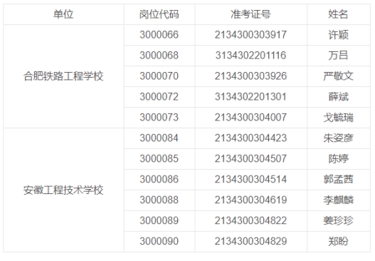
根據省委組織部、省人力資源和社會保障廳《關于印發〈安徽省事業單位公開招聘人員暫行辦法〉的通知》(皖人社發〔2010〕78號)和《關于印發2023年度安徽省省直事業單位統一筆試公開招聘工作人員實施方案的通知》(皖人社秘〔2023〕52號)等規定,經報名、資格審查、筆試、資格復審、專業測試、體檢考察等程序,現將合肥鐵路工程學校、安徽工程技術學校2所廳屬中專學校擬聘用人員名單進行公示(見附件)。
公示時間為7天(2023年9月13日—2023年9月19日),對擬聘用人員如有不同意見,請在公示期內以電話或書面方式向學校紀委、省教育廳人事處和機關紀委反映。
監督電話:0551-64426148(合肥鐵路工程學校紀委)
0557-3650551(安徽工程技術學校紀委)
0551-62831805(省教育廳人事處)
0551-62827422(省教育廳機關紀委)
附件:擬聘用人員名單

安徽省教育廳
2023年9月13日



