文武教師溫馨提示:近期文武教師網收到舉報,有詐騙分子發布虛假信息,進行騙取報名費,如信息中涉及報名收費,請各位老師謹慎鑒別,確認無誤后再繳費報名,以免上當受騙,一般教育局組織的招聘才需要支付費用,學校招聘不需要支付,文武網所提供的所有考試信息僅供參考,敬請考生以權威部門公布的正式信息為準。
歡迎加入安徽教師招聘群:372773636,考情、招聘信息早知道!
根據《安徽省教育廳安徽省財政廳安徽省人力資源和社會保障廳關于印發安徽省2023年農村義務教育階段學校教師特設崗位計劃招聘實施方案的通知》精神,現將2023年金安區“特崗計劃”教師招聘具備面試資格人員名單及面試相關事項公告如下:
一、具備面試資格人員
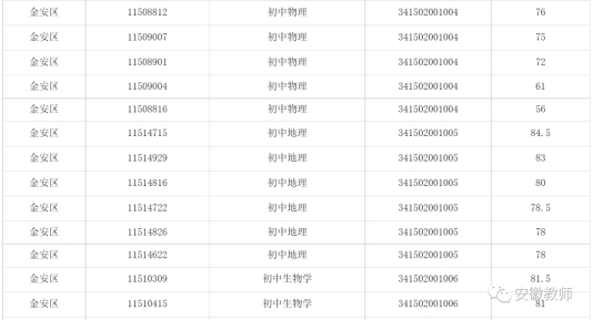
詳見附件1。
二、面試時間和地點
(一)面試時間:2023年7月29日(星期六)。
(二)面試地點:六安市人民路小學東校。
地址:六安市金安區望城街道清風路658號。
三、考生須知
(一)參加面試的考生須持本人有效居民身份證原件、筆試準考證和面試通知書,于2023年7月29日(星期六)上午6:30—6:50進入考點(六安市人民路小學東校)。6:50考點封閉,遲到考生不得進入考點,視為自動放棄面試。
(二)考生進入考點后根據報考崗位到對應的封閉室集中,接受工作人員的統一封閉管理。憑面試通知書、筆試準考證、本人有效居民身份證原件抽簽確定出場順序。
(三)面試考生必須嚴格遵守考場紀律,不得攜帶任何通訊工具和無線電接收、電子存儲器材進入面試場所(封閉室、考場等),否則,一經發現,按有關規定取消面試資格。
(四)面試考生由引導員按抽簽順序號引導,憑抽簽號碼牌由考場引導員引導到面試考場參加面試。出封閉室后,離開考點前,考生之間不得有任何語言交流。
(五)考生進入考場只能報抽簽號,不能介紹姓名等有關信息,考生答完最后一道題后,如有剩余時間,允許對前面已答過的題目作補充回答。每位面試考生的面試時間不得超過15分鐘。面試結束后,考生在考場外候分處等候主考官宣布成績。
(六)面試滿分為100分。面試的計分方法為:對7名考官評出的分數,去掉一個最高分和一個最低分,剩余分數相加后,除以有效考官人數(5名)所得出的平均分數。
(七)面試成績經考場計分員簽字、監督員核對簽字確認后,由主考官審核簽字,按“隔位報分法”,當場向考生宣布,并由考生簽字確認。面試成績宣布后,考生隨即由考場引導員帶領,按指定的路線離開考點。
(八)考生進入封閉室后至本人面試前,不得離開封閉場所。在考點內,考生未經引導員引領,不得單獨行動。如因特殊情況,確需離開考點的,須有本人書面申請放棄面試,經考點主考同意后方可。
(九)考生違紀,按《安徽省人事考試違紀處理規定》給予相應的處理。











