文武教師溫馨提示:近期文武教師網收到舉報,有詐騙分子發布虛假信息,進行騙取報名費,如信息中涉及報名收費,請各位老師謹慎鑒別,確認無誤后再繳費報名,以免上當受騙,一般教育局組織的招聘才需要支付費用,學校招聘不需要支付,文武網所提供的所有考試信息僅供參考,敬請考生以權威部門公布的正式信息為準。
歡迎加入鎮江教師招聘群:832979142,考情、招聘信息早知道!
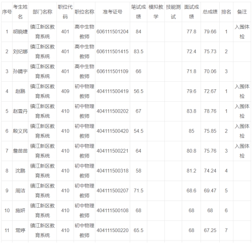
根據《鎮江新區教育系統2023年公開招聘事業編制教師公告》(鎮新事招公告﹝2023﹞2號)規定,現將鎮江新區教育系統2023年公開招聘事業編制教師總成績(第三批)予以公示。標紅的為崗位入圍體檢、考察人員。公示時間:7月10日-14日。如有異議請聯系:鎮江新區社會發展局綜合人事科,電話:0511-80825663;派駐社會發展局紀檢組,電話:0511-83175019。



![]()
鎮江新區社會發展局
2023年7月10日



